Jagadish Chandra Bose was a multifaceted genius who pioneered wireless communication and plant physiology. Born in Bengal, he overcame colonial discrimination to prove that plants possess life-like responses to stimuli using his invention, the crescograph. He demonstrated wireless signaling before Marconi but famously refused to patent his work, believing science belonged to everyone. A true polymath, he also founded the Bose Institute and wrote the first Bengali science fiction story, leaving behind a legacy that bridges the gap between the physical and biological sciences.| Attribute | Details |
| Full Name | Sir Jagadish Chandra Bose (Acharya J.C. Bose) |
| Born | November 30, 1858 (Mymensingh, British India) |
| Died | November 23, 1937 (Giridih, British India) |
| Fields | Physics, Biology, Botany, Science Fiction |
| Key Inventions | Crescograph, Mercury Coherer, Spiral-spring coherer |
| Famous Works | Response in the Living and Non-Living (1902) |
| Notable Honors | Knighted (1917), Fellow of the Royal Society (1920) |

The Jagadish Chandra Bose biography is a narrative of a man who looked at a blade of grass and saw a nervous system, and who looked at empty space and saw invisible waves carrying messages. Long before the world celebrated Guglielmo Marconi for the invention of the radio, a quiet, determined professor in a cramped laboratory in Calcutta was already remotely ringing bells and igniting gunpowder using electromagnetic waves. This Indian scientist J.C. Bose did not just bridge the gap between physics and biology; he essentially erased it, proving that the “living” and the “non-living” were bound by the same universal laws of response. His life is a profound lesson in how curiosity, when backed by iron-willed persistence, can overcome even the most rigid colonial barriers.
8 Defining Chapters in the Vikram Sarabhai Biography
The Village Roots of a Global Mind
Born in 1858 in Mymensingh (now in Bangladesh), Jagadish’s early life was shaped by his father, Bhagawan Chandra Bose, a man of high principles who served as a deputy magistrate. Unlike many of the elite who sent their children to English-medium schools, Bhagawan Chandra insisted that Jagadish attend a vernacular school. He believed that one must first master their mother tongue before attempting to learn a foreign language.
This decision was pivotal. In that village school, Jagadish sat alongside the children of farmers and fishermen. He listened to their stories of the land, the rivers, and the birds. This early immersion in nature planted the seeds of a lifelong fascination with the “feelings” of the natural world. It wasn’t just a plant physiology pioneer in the making; it was a child learning that every living thing had a story to tell if only one knew how to listen.
The Silent Struggle at Presidency College
After moving to Calcutta for higher studies and later traveling to Cambridge, Bose returned to India in 1885 to join Presidency College as a Professor of Physics. However, the path was anything but smooth. He faced blatant racial discrimination from the British administration, which offered him only one-third of the salary paid to European professors.
In a legendary act of silent protest, Bose refused to accept his paycheck for three whole years. He continued to teach with unparalleled passion, living in a tiny 24-square-foot room that he also used as his laboratory. This period of the Jagadish Chandra Bose biography highlights his immense dignity. Eventually, the authorities realized they could not break his spirit, and he was granted his full salary and back pay. It was in this humble, self-funded lab that he began the research that would eventually challenge the foundations of global physics.
The Forgotten Inventor of Radio
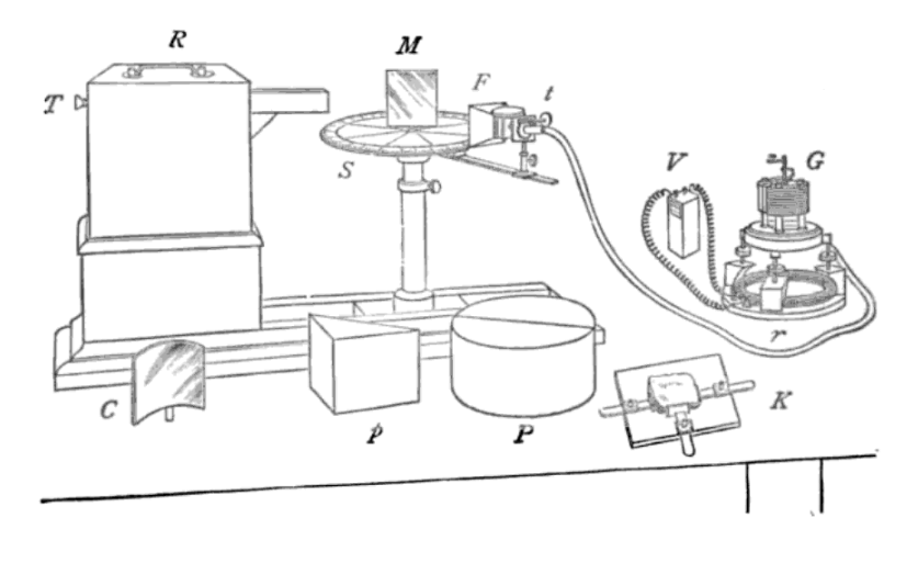
One of the most debated chapters in wireless communication history is the invention of the radio. In November 1894, in a public demonstration at the Town Hall in Calcutta, Bose sent electromagnetic waves through walls and over a distance of 75 feet to remotely ring a bell and explode a mine. This was a full year before Marconi’s successful demonstration in England.
Bose invented the Mercury Coherer, a device that was essential for receiving radio signals. Interestingly, Marconi later used a slightly modified version of this very coherer to receive the first transatlantic radio signal in 1901. Why then is Marconi the household name while Bose remained in the shadows? The answer lies in Bose’s philosophy. He was deeply averse to patenting his inventions. He believed that scientific knowledge should be free for the benefit of all humanity. While others saw profit, Bose saw progress. This refusal to commercialize his genius is why the father of radio science tag remained largely unacknowledged by the West for nearly a century.
Proving the Heartbeat of a Plant
By the turn of the century, Bose’s interests shifted toward a mystery that many of his contemporaries thought was impossible: do plants feel? To answer this, he invented the Crescograph invention, an incredibly sensitive instrument capable of magnifying the growth of a plant by 10,000 times.
In a world-famous demonstration at the Royal Society in London, Bose showed that when a plant was exposed to poison, it displayed a “death spasm” on the graph, identical to that of an animal. He proved that plants react to light, sound, and even touch. He showed that plants have a circulatory system and a form of “nervous” response. This was revolutionary. He was essentially telling the world that the tree in your backyard experiences stress and affection just as you do. His book, Response in the Living and Non-Living, became a cornerstone for the new field of biophysics.
The Father of Bengali Science Fiction
Bose’s imagination wasn’t limited to the laboratory. In 1896, he wrote a short story titled “Niruddesher Kahini” (The Story of the Missing One). This story, which involved using a bottle of hair oil to calm a cyclone by changing the surface tension of the water, is widely considered the first major work of Bengali science fiction.
This creative side of the Indian scientist J.C. Bose showed that he didn’t just understand the mechanics of the world; he understood its wonder. He was a close friend of the poet Rabindranath Tagore, and the two often spent hours discussing the intersection of science and spirituality. Tagore once wrote a poem dedicated to Bose, calling him the “Acharya” who had brought the message of the ancient Vedas into the light of modern laboratory science.
Dr. A.P.J. Abdul Kalam: (1931-2015)
The Legacy of the Bose Institute
In 1917, Bose founded the Bose Institute in Calcutta, the first interdisciplinary research center in Asia. In his inaugural speech, he made it clear that the institute was not just for the study of physics or biology, but for the search for truth. He dedicated it to the nation, ensuring that Indian scientists would always have a place to conduct high-level research regardless of political or colonial hurdles.
His students included other giants like Satyendra Nath Bose (the namesake of the Boson) and Meghnad Saha. The Jagadish Chandra Bose biography comes full circle here: a man who was denied a proper lab by the British ended up building one of the most prestigious research institutions in the world. He proved that an “Indian mind” was not just capable of learning Western science but was capable of leading it.
Comparative Table: Bose vs. Marconi (Radio Innovation)
| Feature | Jagadish Chandra Bose | Guglielmo Marconi |
| First Demonstration | 1894 (Calcutta) | 1895 (Italy/UK) |
| Wave Frequency | Millimeter waves (Microwaves) | Long-wavelength radio waves |
| Key Device | Mercury Coherer (Original) | Modified Coherer |
| Patent Approach | Open Science (Refused patents) | Commercial (Strict patents) |
| Recognition | IEEE “Father of Radio” (Recent) | Nobel Prize (1909) |
Curious Indian: Fast Facts
- The Lunar Honor: There is a crater on the Moon named the “Bose Crater” in his honor, located on the far side of the lunar surface.
- First US Patent: Despite his dislike for patents, he was pressured by friends to file one, becoming the first Asian to receive a US patent in 1904.
- Millimeter Waves: Bose was the first to use “microwaves” to study the properties of light, a technology now used in modern 5G and radar.
- The “Metal Fatigue” Discovery: He proved that even inorganic metals show signs of “fatigue” and “recovery” under electrical stress, similar to living tissues.
- Knighted by the King: He was knighted in 1917 for his immense contributions to science, becoming Sir Jagadish Chandra Bose.
Conclusion
The Jagadish Chandra Bose biography is a testament to the power of a “Curious Indian” mind that refuses to be boxed in by labels. He was a physicist who thought like a biologist and a dreamer who worked like a mechanic. His discovery that all life is interconnected by a silent, invisible pulse remains one of the most poetic truths in science. As we use our wireless devices today, we owe a silent thank you to the man from Bengal who first saw the music in the waves.
The Roopkund Skeleton Lake Mystery: Why Were Greeks Dying in the Indian Himalayas?
If you think you have remembered everything about this topic take this QUIZ
Results
#1. What was the primary reason Jagadish Chandra Bose refused to accept his salary at Presidency College for three years?
#2. Which specific instrument did J.C. Bose invent to measure and observe the growth and responses of plants?
#3. Regarding the invention of the radio, what distinguished Bose’s approach from Guglielmo Marconi’s?
#4. In his botanical research, what did Bose demonstrate by exposing a plant to poison during a presentation at the Royal Society?
#5. What is the title of the story written by J.C. Bose that is considered the first major work of Bengali science fiction?
#6. Which of the following describes a ‘first’ achieved by J.C. Bose in the context of his international recognition?
#7. How did Bose’s early education in a vernacular school influence his scientific perspective?
#8. Bose discovered that even inorganic metals show signs of ‘fatigue’ and ‘recovery’. What did this lead him to believe?
What did J.C. Bose invent?
He is most famous for inventing the Crescograph (which measures plant growth) and several microwave components like the spiral-spring coherer and the horn antenna.
Did J.C. Bose win a Nobel Prize?
No, he did not win a Nobel Prize. Many believe this was due to the colonial politics of the time and his refusal to patent his work, which allowed others like Marconi to take the commercial spotlight.
How did he prove plants have life?
Using his crescograph, he showed that plants respond to external stimuli like electricity, chemicals, and light in a way that is mathematically similar to animal nervous systems.
Why is he called the Father of Bengali Science Fiction?
He wrote “Niruddesher Kahini” in 1896, which is credited as the first significant science fiction story in the Bengali language.
What is the Bose Institute?
Founded by J.C. Bose in 1917 in Kolkata, it is one of India’s oldest and most prestigious interdisciplinary research institutes.












